Конференции

67-я Всероссийская научная конференция МФТИ

Список разделов ЛФИ - Секция общей физики

Секция принимает работы рассматривающие общефизические проблемы

 

Формат проведения: смешанный 

Дата и время проведения: 05.04.2025 в 11:00

Место проведения: МФТИ, 517а ГК

 

 
  • Волоконно-оптический датчик вибрации на изгибных потерях мощности

    В данной работе реализован волоконно-оптический датчик вибрации на основе изгибных потерь мощности. Датчик представляет собой петлю стандартного одномодового оптоволокна с грузиком на вершине. Показано, что при установке такой конструкции на вибростолик возможна регистрация колебаний столика в плоскости петли оптоволокна. Также было проведено исследование оптимального радиуса кривизны петли оптоволокна для изучения механических колебаний.

  • Исследование ориентационного упорядочения жидких кристаллов на фотоуправляемой поверхности
    1. Работа посвящена исследованию параметров потенциалов взаимодействия молекул жидкого кристалла и фотоориентанта на ориентационное упорядочение ЖК методом фотоориентации. С помощью метода молекулярно-динамического моделирования показано существование кластеров молекул, причиной возникновения которых являются водородные связи.
  • Экспериментальное исследование крупномасштабной вращающейся плазменной структуры в отражательном разряде с термокатодом

    В представленной работе при помощи системы плавающих зондов экспериментально исследуется «спицевая» неустойчивость в отражательном разряде с термокатодом. Получены зависимости ее фазовой скорости от радиальной координаты, давления газа в камере, электрического и магнитного полей. Рассматривается процесс развития неустойчивости.

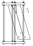
  • Двойной математический маятник: эксперимент, визуализация, анализ

    В данной работе экспериментально исследована применимость модели гармонических колебаний для описания движения двойного математического маятника при малых отклонениях. Исследована зависимость периода биений от длины нити и расстояния до точки подвеса, а также выявлены границы применимости теории двухосевых колебаний. Разработанные методики могут быть применены для исследования других механических систем, что делает работу важной для дальнейшего развития теории колебаний и динамики.

  • Генератор случайных чисел на основе цепи Чуа

    В работе описано поведение цепи Чуа, а также разработан способ получения случайных бинарных последовательностей.

  • Моделирование многомодовой интерференции в SMS-структуре под действием продольного механического напряжения

    В ходе работы реализована программа на языке MATLAB, позволяющая проводить расчеты многомодовой интерференции в волокнах со ступенчатым профилем показателя преломления. Проведено исследование влияния диаметра сердцевины и длины многомодового участка SMS-структуры на отклик датчика к приложенному растяжению. Данная программная реализация допускает модификацию для моделирования в волокнах с градиентным профилем, что расширяет ее применимость.

  • Наблюдение интерференции редко следующих фотонов

    В ходе работы было подтверждено присутствие максимумов и минимумов в распределении интенсивности дифрагированного излучения в условии падения на щели одиночных фотонов. При этом примененный метод измерений с использованием синхронного детектирования требует гораздо более простой и дешевой аппаратуры, чем регистрация отдельных фотонов.

  • Численное моделирование жидкокристаллического элемента для метаповерхностей диапазона 5G

    В данной работе обсуждается перспективность использования жидкокристаллических подложек в качестве основы для метаповерхностей, используемых в базовых станциях сетей 5G. Представлен численный расчёт зависимости диэлектрической проницаемости ячейки 5CB от приложенного к ней напряжения. Полученные результаты свидетельствуют о высоком показателе преломления поляризованной фазы относительно хаотизированного состояния, что может быть использовано для широкоугольного сканирования лучом.

  • Прозрачное пересечение индуцированного спинового резонанса дейтронов с помощью корректирующих квадруполей Нуклотрона/ОИЯИ
    • Обсуждается возможность экспериментальной проверки прозрачного пересечения спинового резонанса дейтронов в синхротроне Нуклотрон (ОИЯИ, г. Дубна). Резонанс индуцируется с помощью корректирующих квадруполей, которые позволяют независимо управлять отстройкой от резонанса и его мощностью. Формулируются ограничения на допустимый импульсный разброс пучка дейтронов и приводятся результаты численного моделирования спиновой динамики при прозрачном пересечении индуцированного резонанса в Нуклотроне.
  • Волоконно-оптический датчик изгибных деформаций на основе многомодовой интерференции

    Исследованы сенсорные свойства волоконно-оптической структуры, состоящей из отрезка многомодового волокна длиной 8.8 mm, вваренного между стандартными одномодовыми волокнами. Проведены измерения для излучений с длинами волн 1310 и 1550 nm. Выявлено, что зависимости проходящей мощности от изгиба, кривизны и растяжения балки являются линейными, что отражает перспективы использования SMS-структур в качестве более простой и экономичной альтернативы датчикам на волоконных брэгговских решетках.

  • Исследование фронта пламени в прямоугольном открытом канале

    В работе исследуется ламинарное горение паров этилового спирта в канале со спиртом на дне. Течение и химия описываются уравнениями сохранения с редуцированным механизмом горения. Валидация методов проведена в Cantera и OpenFOAM (DDOF, DeepFlame), результаты согласуются по скорости пламени и составу продуктов. Трёхмерные расчёты в OpenFOAM выполнялись методами DNS и xifoam. Моделирование демонстрируют хорошее совпадение с экспериментом по форме и скорости распространения пламени.

  • Исследование эффективности электро генератора на примере Капельницы Кельвина

    Исследуется альтернативный метод генерации электроэнергии на основе электростатического генератора Лорда Кельвина, использующего индукцию зарядов на каплях электропроводящей жидкости. Анализируются два режима работы генератора и влияние ключевых параметров на эффективность процесса. Экспериментальные данные подтверждены численным моделированием в COMSOL Multiphysics. Также рассматриваются перспективы масштабирования технологии для создания доступных и экологически чистых источников энергии.

  • Исследование условий возможного стационарного движения слинки

    В работе исследуются условия, при которых игрушка cлинки может осуществлять устойчивое шагающие движение по ступенькам. Анализ проводится как теоретически, через изучение критического числа витков, определяющих начало движения, так и экспериментально, с использованием пневматического актуатора для контроля начальных условий. Дополнительно изучается влияние параметров движущейся лестницы на устойчивость траектории.

  • Исследование истечения жидкости и оптимизация полета ракеты-бутылки

    Исследование реактивного движения водяной ракеты, анализ гидродинамики истечения жидкости и термодинамики расширения газа. Экспериментально подтверждена зависимость тяги от давления в резервуаре и площади сопла, а также стремление к изотерме процесса расширения воздуха внутри бутылки во время истечения жидкости. Полученные данные позволяют оптимизировать высоту полета и подтвердить корректность теоретической модели.